当前时间:
 
 
 
地址:江苏泰州市姜堰经济开发区
联系人:许经理
手机:15861028198
电话:0523-82578918
传真:0523-82073188
网址:www.tzbrbwg.com
邮箱:tzbrbwg@163.com

 

 
产品展示
您当前所在的位置:首页 >> 产品展示

    补偿器,膨胀节系列 >> 全埋型补偿器
 

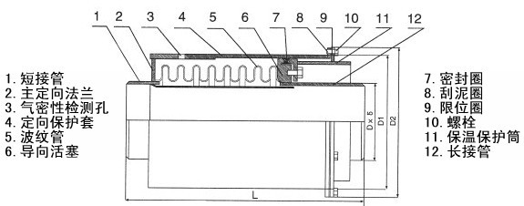
当全埋型补偿器达到使用寿命或者出现泄漏时,装在波纹补偿器活动端的密封环启动使用,是波纹补偿器变成套筒补偿器,保证管道继续安全运行。延长使用寿命,提高安全系数,减少管道泄漏危害,减少管道安装,使用,维护成本。
产品详细介绍
    全埋式补偿器是我公司根据市场的要求,结合城市供热补偿器标准和焊制套筒补偿器的标准,集波纹补偿器和套筒补偿器的优点。该产品的使用寿命比普通补偿器大幅度延长,从而解决管道运行过程中的跑、冒、泄、漏等问题,使管道不会出现意外泄漏,避免影响管道正常作业,从而减少管道泄漏对人民的财产和安全带来的不必要的危害,确保管道安全运行。
    结构特点:在波纹补偿器的活动端装上套筒补偿器的密封函,并充分考虑密封材料的物理密封原理和化学成分,先从结构上采用“V”型宽唇绕性密封结构,利用流体动压密封原理来达到可靠的密封效果,彻底改变了传统套筒补偿器强制密封原理,从而减少摩擦力,密封效果更好。然后,根据使用温度不同,采用不同的耐温且耐腐蚀、化学性能稳定的密封材料。
本公司选用的密封材料具有自润滑性能,摩擦系数小,压缩回弹率高,不含有高温中易挥发的润滑剂和添加剂,密封性能稳定、使用寿命长等特点。

 

点击数:575  录入时间:2012-11-23 【打印此页】 【关闭

 

泰州博瑞波纹管有限公司 地址:江苏泰州市姜堰经济开发区 电话:0523-82578918 传真:0523-82073188
联系人:许经理、15861028198 邮箱:tzbrbwg@163.com 网址:www.tzbrbwg.com 友情链接:易普网络
广告词说明:本网站介绍上显示的广告法规定集线(错别字是为避免广告法排查工具误导)词,只在本网站范围内对比,且仅作为产品内容介绍使用,非广告宣传用语!
*本站相关网页素材及相关资源部分来源互联网,如有侵权请速告知,我们将在24小时内删除* 【免责声明】
备案号:苏ICP备13019346号