当前时间:
 
 
 
地址:江苏泰州市姜堰经济开发区
联系人:许经理
手机:15861028198
电话:0523-82578918
传真:0523-82073188
网址:www.tzbrbwg.com
邮箱:tzbrbwg@163.com

 

 
产品展示
您当前所在的位置:首页 >> 产品展示

    补偿器,膨胀节系列 >> 矩形烟风煤粉管道补偿器
 

  烟、风、煤粉管道波纹补偿器是一种在工作中能自由伸缩的弹性补偿原件,它结构紧凑,工作可靠,成本底廉,适用性强,有防震、防尘、防失调等功能,主要用于电站锅炉风烟管道系统中,也适用于冶金化工等其它类似烟连接管道。
产品详细介绍
  用于输送气体或含尘气体,使用压力从真空~0.1Mpa、使用温度-40℃~420℃,任意矩形,圆形截面的烟气,通风和鼓风机管道,作补偿位移减振用。
    本公司生产金属波纹补偿器具有补偿量大,刚度小,便于安装使用和寿命和等特点,广泛用于钢铁,电力,石油化工,水泥等行业。并可根据用户要求先用不锈钢或碳钢制造U型或V型波纹管,内衬筒,法兰一般选用碳钢。波纹补偿器按型式分,有Dg200-3600单波,双波和三波的圆形补偿器各23种规格:有Dg400-1400圆形单波密封式补偿器12种风格:有300×400-6000×5000单波,双波和三波矩形补偿器各98种规格。
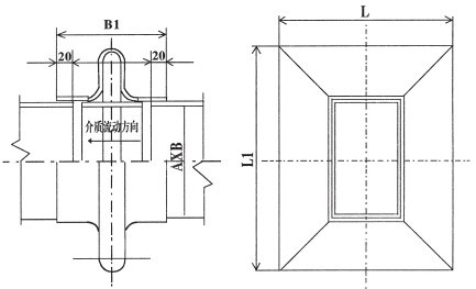
产品结构简图

 

点击数:581  录入时间:2012-11-23 【打印此页】 【关闭

 

泰州博瑞波纹管有限公司 地址:江苏泰州市姜堰经济开发区 电话:0523-82578918 传真:0523-82073188
联系人:许经理、15861028198 邮箱:tzbrbwg@163.com 网址:www.tzbrbwg.com 友情链接:易普网络
广告词说明:本网站介绍上显示的广告法规定集线(错别字是为避免广告法排查工具误导)词,只在本网站范围内对比,且仅作为产品内容介绍使用,非广告宣传用语!
*本站相关网页素材及相关资源部分来源互联网,如有侵权请速告知,我们将在24小时内删除* 【免责声明】
备案号:苏ICP备13019346号